110kV线路间隔保护检验分享
2023-05-10 科威
主变中性点绝缘方式及倒闸操作
2023-05-09 科威
夏季到了,防雷知识分享
2023-05-06 科威
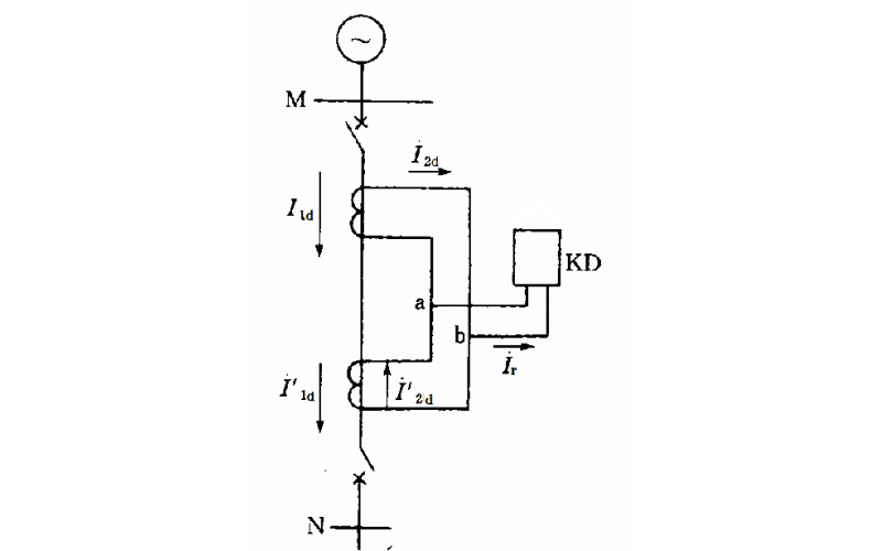
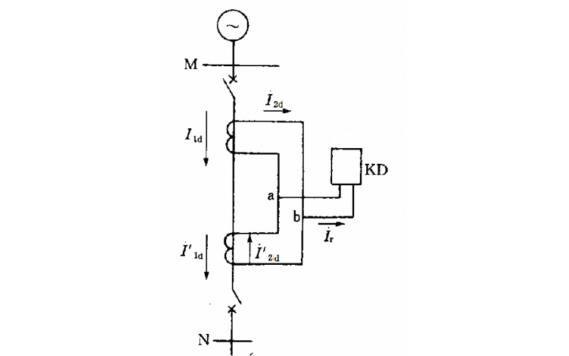
核电站出现变压器励磁涌流会有什么影响?
2023-04-28 科威
KWZK-LB800系列漏电保护器小知识介绍
2023-04-21 科威
电力变压器的保护配置知识分享
2023-04-20 科威
电力变压器的保护配置
2023-03-27 科威
开关柜熔断器的作用知识介绍
2023-01-05 科威